裴讯的k2、k2p目前手上都有,算是市场上最值得推荐性价比最高的路由器了。可以免费获得,也可以花小钱从
其他卖家那里买回来。官方的固件有bug,最开始的k1到k2还有后门跟搜集用户信息的应用捆绑在固件内。后来经过
网友的努力,出现了各种各样的第三方固件。基本上我都刷过一遍了,各种各样的问题都存在,最深刻的还是刚开始
网速正常,然后就是网速越来越慢,必须重启才行。还有一些固件带有ss翻墙功能,呃,这个我没试过也用不到。
再就是一些去广告啥的功能了,功能都很强大。
偶然一次试着刷了gocloub产品的第三方固件,然后就一直使用至今。不清楚他们是做什么出身的,不过固件是
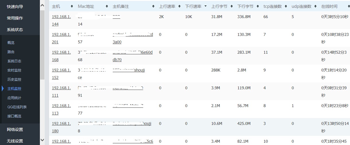
真正的非常强大,企业路由上面有的功能,它也有了。可以查看网内各用户的使用情况,智能分流这个关键功能也在
不断完善规则,多拨更是不在话下,肯定是有的了。最重要的一个就是它的刷机方法也贼简单。。。。










